iframe page Waterford Stanley Page Here

Floor Protection


Product & installation specifications are subject to change without notice.
Product installation must adhere strictly to the installation manual shipped with product!

The Waterford Stanley Cook Stove requires one of the following forms of
hearth protection if not installed directly on concrete poured on earth:
1) Any UL, ULC, or Warnock Hersey Listed Type 1 hearth board.
2) Any noncombustible material 3/8" thick.

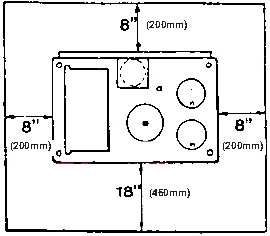
In Canada, floor protection must extend 18" from the front of the stove
and 8" from the sides and rear of the stove.